车门锁系统设计指南
车门锁系统概述
车门锁系统定义与分类定义:车门锁系统为安装在车门上,用于实现车门锁止和开启的零部件。
车门锁系统一般包括前(后)门锁、锁扣、外开把手、内开把手、锁止机构和连接装置,前门一般还会包含锁芯零件,如图1所示。

及外把手分类:门锁:按照门锁锁紧件的形状分,可分为舌簧式,钩簧式,卡板式,凸轮式及齿条式等型门锁; 按照门锁锁紧件的运动形式分,可分为直线运动式如舌簧式,摆动式如卡板式等,旋转式如齿轮齿条式三种;按操纵门锁的方式分,可分为手动式和自动式两种。上述门锁中,舌簧式,齿轮齿条式及卡板式门锁的使用较为普遍,它们的优缺点介绍如下:
舌簧式门锁:结构简单,安装容易,对车门的安装精度不高;缺点是不能承受纵向载荷,故可靠性较差, 加之关门沉重,噪声高,锁紧件舌头与挡块易磨损等。这种门锁在现代汽车上已经较少使用,主要用于载货汽车,客车及拖拉机等。
齿轮齿条式门锁:锁度高,齿轮齿条的耐磨度高,关门轻便;缺点是,对齿轮齿条的啮合间隙要求严, 一旦啮合间隙超差,便影响使用,对车门的安装精度要求较高。故该种类的门锁主要用于行驶在路面较
好的车辆。
卡板式门锁:强度高,既可承受纵向载荷又能承受横向载荷,安全可靠。另外,其零件大多为钢板冲压件,工艺性好,制造容易。由于此种门锁适用于各种车辆,因此已经取代舌簧式和齿轮齿条式门锁占领绝大部分市场。
外把手:目前常见的外把手的形式有两种,外拉式把手和翻盖式把手。外拉式把手:结构简单,开启力直接作用,故障率小,如图2所示。
翻盖式把手:外观好,与车身曲面吻合,风阻更小。开启力经连杆传动,故障率较高,如图3所示。


图 2 外拉式把手 图 3 翻盖式把手
一般情况下,由于门锁内部结构复杂功能多样,而且目前专业门锁厂家的产品比较成熟,所以在设计过程中我们会选用专业门锁供应商的卡板式成熟门锁。在外把手方面,目前市场上比较畅销的车型中奥迪还在延续着其经典的翻盖式把手(Q系列及部分A4系列也采用外拉手把手),有些车型也会改变传统的布置形式,将翻盖式外把手竖向布置,如奇瑞A3后门外把手,其他绝大部分车型都采用外拉式的把手。
连接装置:目前比较常见的连接装置有两种:连杆和拉索。
连杆:刚性传递,传递效率高,结构复杂时候需要几个连杆转接,故障率较高。特别是在碰撞过程中, 可能导致连杆变形,操作机构被卡死,不能打开车门。
拉索:柔性传递,传递过程中会有力的损失。但是由于拉索的柔性比较好,对周边环境要求比连杆低, 同时拉索允许的变形范围比连杆大,在碰撞过程中不容易失效。
车门锁系统设计要求车门锁系统的通用要求
GB 15086 汽车门锁及车门保持件的性能要求和试验方法
QC/T 323 汽车门锁及车门保持件
QC/T 627 汽车电动门锁装置
车门锁系统功能要求操作性:要求在驾驶室(或车厢)内、外均能可靠地锁紧或方便地打开车门,门锁对车门应具
有导向、定位及防振的能力。
安全性:首先,要求车门具有两个档位的锁紧位置——全锁紧和半锁紧位置。增加半锁紧档位的目的是,当车辆驾驶中车门离开了全锁紧位置时,半锁紧一档便能起保险作用,并可提醒驾驶员注意车门未锁紧。其次,要求门锁应具有防误锁功能,停车后当车门打开状态下,误将门锁锁止;而当关门时能自动解除锁止,防止驾驶员下车时误将钥匙遗忘在车内而发生车门误锁现象。再次,目前一般车辆都有自动落锁功能,在车速达到15Km/h~30Km/h的时候门锁能够自动锁止保险。可靠性:要求门锁系统具有锁止装置,保证车门关紧后能把车门锁止,以防止车辆行驶中车门自行打开,并可防止乘员误开车门。强度:门锁应具有较高的强度,能耐一定的纵向载荷、横向载荷及冲击时产生的惯性力,在汽车撞车和翻车等情况下不会失效。另外,为持续保持性能和强度,门锁系统应采取防水、防尘及防锈蚀等措施。车门锁系统典型结构、工艺及材料介绍典型结构
结构一:拉索连接,旋钮锁止、解锁,如图 4 所示。

图 4 车门锁系统典型结构图示(一)
结构二:连杆连接,提钮锁止、解锁,如图 5 所示。

图 5 车门锁系统典型结构图示(二)
结构三:拉索连接,内把手双拉解锁,如图 6 所示。

图 6 车门锁系统典型结构图示(三)
上述图示只是介绍了比较典型的几种结构,通过图 4、图 5、图 6 可以看出,外把手目前流行两种结构:外拉式和翻盖式;连接结构存在两种形式:拉杆和拉索;门锁两种形式:有内锁止扭和无内锁止扭;所以各种形式组合后,可以设计出不同的门锁系统结构。这里就不一一图示列举。
典型工艺门锁及锁扣
门锁内部结构复杂,零件众多,主要的工艺是冲压(棘轮、棘爪等关键部件采用精冲)、注塑、折
弯、铆接等。门锁厂家会将门锁内部不同的零件分发给不同的供应商制作,门锁厂家最后对所有零件进行组装,完成最后的成品零件。
锁扣的主要工艺有折弯、冲压、铆接等。
外把手

外拉式:外拉式的外把手如果手柄结构为一体式,很多外把手厂家为了减小材料成本和零件重量,通常会采用气辅成型的方式。这种注塑方式目前已经比较成熟,应用在绝大部分外把手中,如图 7 所示。
图 7 气辅成型外把手

外把手柄中部空心的结构还可以为外把手的功能拓展提供方便,随着整车电器性能和智能化程度的提升,目前很多高配置的车辆已经开始提供智能感应式的外把手。这就需要在外把手的内部嵌入智能芯片,通过这种形式可以实现触点式、感应式、指纹识别式等众多的智能开启功能,而不需要传统的钥匙按钮解锁后再操作外把手开启车门。这种装配方式优点是产品密封性比较好,对内部芯片的防尘防水性比较高,但是手柄和芯片的装配比较困难,装配效率比较低,如图 8 所示。
图 8 嵌入芯片式外把手
随着目前芯片本身防尘防水性能的提高,对外把手的密封依赖性逐渐减小。为了提高外把手的装配效率,很多外把手厂家也逐渐的采用分体式的手柄来装配芯片。虽然与一体式的手柄相比会增加模具数量,但是模具制造工艺比较简单,外把手的装配效率也比较高。所以现在广泛采用,如图 9 所示。

图 9 装配芯片式外把手
翻盖式:翻盖式只是外观结构与外拉式有区别,成型工艺基本一致,都是普通注塑和气辅成型。
表面处理:目前比较流行外把手外观主要有电镀、喷漆、喷漆把手镶嵌电镀饰条这三种形式,部分比较低档的车辆也会采用手柄材料本色(一般为黑色)外观皮纹处理的形式。
内把手
目前主要应用的内把手柄有金属和塑料两种形式,其中以塑料产品居多,主要的工艺就是注塑。内手柄的表面处理基本都是电镀,主要有亚光和高光两种形式。部分比较低档的车辆也会采用手柄材料本色(一般为黑色)外观皮纹处理的形式。
连接装置
连杆:连杆的主要工艺是折弯。
拉索:拉索的主要工艺是落料、压铸、注塑、装配等。
锁芯
锁芯:主要工艺是冲压、压铸、注塑等。
材料介绍门锁及锁扣
门锁:不同的厂家对材料的使用可能不尽相同,一般选用性能相当的材料。就目前我们选用的门锁而言,基板的材料是 SAPH440、棘轮的材料是 SCM435、棘爪的材料是 SCM435、门锁内部传动机构的材料是 SPFC590、壳体的材料是 POM,还有其他的弹簧、缓冲块、密封垫等零件材料不一一细数。
锁扣:基板材料为 SAPH440、锁钩材料为:SCM435H,如图 10 所示。

图 10 车门锁基本结构
外把手
翻盖式:翻盖式外把手主要结构是手柄、底座、销轴、扭簧,如图 11 所示。
手柄:如果表面是电镀处理,材料可以选择金属的合金或者选择塑料材料 ABS+GF、PC+ABS 等,如果表面是喷漆处理,材料可以选择金属合金或者 PA6+GF 等。
底座:底座一般为喷漆件,一般选用 PA6+GF。销轴:一般采用 20# GB/T 699。
扭簧:一般选用琴钢丝。

图 11 翻盖式外把手结构
外拉式:外拉式外把手主要结构为手柄、罩盖、底座、密封垫等,如图 12 所示。
手柄:如果表面为电镀处理,一般选用 PC+ABS,如果表面为喷漆处理,一般选用 PC+PBT。罩盖:如果表面为电镀处理,一般选用 PC+ABS,如果表面为喷漆处理,一般选用 PC+PBT。
假锁芯:一般选用锌铝材料。有些外把手从成本考虑也会省略假锁芯,直接在罩盖上设计安装固定点。底座及配重块:底座一般选用 PA6+GF,配重块根据具体情况可以选择单一的锌铝合金或者采用塑料+ 合金的形式,扭簧选用琴钢丝。
密封垫:一般采用 EPDM,有些也会采用 PP+EPDM。
手柄

内把手
内把手的材料参考门饰板系统。
连接装置
连杆:一般采用 20# GB/T 699。
图 12 外拉式外把手结构
拉索:锁止拉索一般承受拉力和推力,所以一般选用直径较大的单根钢丝。内开拉索一般只承受拉力, 一般选用直径较小的多股钢丝。
锁芯
锁芯的主要结构为锁芯罩盖、锁芯基体、锁芯部件、连动臂、卡扣等,如图 13 所示。锁芯罩盖:一般采用不锈钢。
锁芯基体:一般采用锌合金。
锁芯部件:锁芯厂家的机密部分,一般为锌合金、钢板、弹簧等。连动臂:一般为冷轧钢板
卡扣:一般为 POM。

图 13 锁芯基本结构
车门锁系统设计流程
车门锁系统设计过程介绍
车门锁系统设计流程如下:如图 14 所示。

图 14 车门锁系统设计流程图
车门锁系统开发各阶段输入输出内容定义
开发个阶段输入输出的内容如表 1 所示。
表 1 车门锁系统开发各阶段输入输出内容
车门锁系统详细设计
门锁、锁扣选型及布置门锁、锁扣选型
汽车门锁在整车零部件中属于安全级零部件,门锁零件本身属于国家强制检测的 3C 零件,门锁总体质量要求高,内部机构复杂,组成零部件加工精度要求较高,同时门锁机构的设计周期和试验周期比较长。所以目前门锁机构一般都是专业的零部件公司进行生产设计。
对于多数整车的主机厂而言,一般都是根据自己的需求选用专业门锁厂家的成熟产品,优点是产品经过试验及市场检验,成熟度高,而且不用投入设计费、模具费、生产设备费用等,可以极大的降低零件的采购成本。主要的缺点是由于产品处于量产阶段,与其他整车厂共用,产品的主要功能结构不能根据自己的需求更改。通用、大众等产量比较大整车厂会和专业的门锁公司合作,设计属于自己的平台化的门锁产品,整车厂家支付有经验的专业门锁厂家设计费、模具费、生产设备等费用,买断
专业门锁厂家产品,所以开发出来的产品属于整车厂专有,其他整车厂不能向门锁厂家采购相同的门锁零件。这种方式的优点在于可以根据自己的需求更改门锁结构功能而不会受到其他的约束限制,但是前期的设计费、模具费等投入的费用较大,需要有足够的产量支撑,才能降低单品的采购成本。
目前比较常用的门锁功能信息,如表 2 所示:
表 2 门锁功能描述表
以上所列举的门锁功能信息并不能覆盖当前门锁的全部功能,同时上述功能信息不一定能在同一把门锁上全部实现,需要根据自身的功能需要并结合门锁供应商提供的门锁参数进行门锁选型。门锁选型的时候需要考虑到与其匹配的周边环境和相关的电器控制方式,在选型之前需要与造型、车身、电器等部门的工程师进行详细的沟通确认。
锁扣的选型相对比较简单,因为不同供应商的门锁基本都会提供与之匹配的锁扣,在正常的情况下都可以完全沿用,在特殊不能匹配的情况下可以做局部的结构调整。
锁体及锁扣布置及啮合运动校核锁体及锁扣布置的零件级需求
(1)锁扣的锁止销(与锁板相扣)的延长线 S 与铰链中心线相交,通常交角 70≤β ≤90°,参见图 15。
(2)门锁的啮合运动方向应与铰链轴心线垂直,允许误差 0~2°。这样才能使锁体在车门开闭时候轻松顺畅工作,减少开关门作用力和噪音,如图 16 所示。
(3)门锁的安装一般选用方式螺钉,力矩一般为 5Nm 左右。

图 15 门锁布置简化图

图 16 门锁布置简化图
(3)锁扣的安装布置
在门锁与锁扣啮合后,上下铰链及门锁的啮合点三点共同约束了车门与侧围的相对位置。在实际的装配过程中车门与侧围总是会存在装配误差,需要调节车门约束点来实现。由于铰链的安装位置涉及到旋转轴线等条件,调节起来较为困难,在正常的生产过程中基本都是通过调整锁与锁扣的啮合位置来实现的,由于门锁本身涉及到与车门内板、外把手、内把手等周边零件的配合调整困难。所以一般会通过调整锁扣来实现。
由于锁扣基板安装孔,一般会设计为锥面沉头孔,锁扣本身没有多余的调节量,所以调节机构需要在锁扣安装板上去考虑。锁扣的紧固力矩一般为 20Nm 左右。几种常见的锁扣安装板形式:如图 17 所示。

形式一 形式二 形式三
图 17 锁扣安装板结构
形式一:锁扣安装板在一定范围内是可以自由移动的,在装配调整的过程中只需要将锁扣的安装螺钉调松,将锁扣调整到需要的位置,再将螺钉预紧即可。但是该方案由于锁扣安装板在一定的范围
内是可以自由移动的,所以安装的初始位置不一定在设计位置,也就是没有一个安装的基准,所以基本上每一台车都需要调整,工作量比较大。为了解决这个问题,一般在锁扣和侧围外板上增加刻度线, 在初始安装的时候将刻度线作为安装基准,这样能保证绝大部分零件安装后在设计位置,除个别车辆需要根据实际情况调节外,绝大部分车辆不需要重新调节。
形式二、形式三:这两个方案相对于形式一而言,在初始阶段锁扣安装板是通过焊点与车身焊合的,安装板的初始位置就是设计位置,这样在锁扣初始安装时候能保证锁扣处于设计位置,如果个别车辆需要根据实际情况调节,只需要将锁扣的安装螺钉调松,通过软胶锤敲击锁扣,通过敲击使锁扣安装板相对于侧围外板变形到实际需要的位置,再预紧螺钉。该方案共同的特点是,通过局部比较弱的连接结构将锁扣安装板与侧围连接,在敲击的过程中连接结构较弱的结构首先变形达到想要调整的位置。由于初始阶段锁扣安装板就在设计位置,所以不需要装配的参考刻度线,是目前比较常用的一种结构。
锁体及锁扣布置的系统级需求
(1)考虑锁体/摆臂运动包络与玻璃导轨/玻璃的安全间隙。锁体与玻璃导轨的距离应达到 6mm 以上,与玻璃的距离应达到 9mm 以上;摆臂运动包络与玻璃导轨的距离应达到 9mm 以上,与玻璃的距离达到12mm 以上。具体布置时由于门腔空间狭小,必要时根据具体情况调整安全距离值。
(2)门锁理想的高度位置是居于铰链轴线的中心垂直面,使两铰链与门锁三点构成等腰三角形,不过实际上有许多在上铰链钝角的实例;具体布置门锁时还应该考虑碰撞力传递问题,尽量让锁体靠近腰线加强板或防撞粱等。
(3)为了保证车门总成的安装稳定性,布置门锁时还应考虑让车门总成重心位于门锁与上下铰链构成的三角形内。
(4)从锁体和锁扣提取安装平面,分别作为车门钣金的锁体安装面和侧围外板的锁扣安装面,应该对锁体和锁扣安装设计加强结构。
(5)锁扣到门内板鱼嘴处切边的 X 向距离在设计的时候有两种方案:
a,当锁扣(Y 向)超出车门内板表面时(冲压基板+单柱铆接式),直接留足锁顺利开启和锁止的余量, 门内板鱼嘴切边超出锁体口边缘 3mm。
b,当锁扣(Y 向)不超出车门内板表面时(普通U 型锁扣),要求锁扣到门内板鱼嘴处切边的距离在切边超出锁体口边缘的情况下为 8mm 以上。这是考虑碰撞之后车门仍能顺利打开而规定的。
(6)根据工厂的实际制造能力,车门内板与锁扣在 X 向的安全间隙为 4~6mm,来防止车门开闭运动干涉。
外把手及传动杆/拉索设计与布置外把手设计
汽车外把手既是车辆的功能件又是车身的外观饰件,需要从功能和外观性全面考虑。从功能考虑要满足功能的使用要求,要满足整车的人机工程要求;从外观考虑要与整车造型相匹配。外把手的设计首先需要参考整车外把手的造型,首先确认是外拉式还是翻盖式外把手,不同的外把手造型决定了不同的外把手结构。同时在外把手结构设计时,根据具体的结构和制造工艺也有可能会对外把手造
型提出局部的修改,所以在设计过程中需要及时的与造型工程师沟通。如果外把手内部需要集成探测传感器,还需要在设计的时候全面考虑传感器的空间布置和性能要求,保持与电器工程师的沟通协商。外把手与车门的装配,需要考虑车门钣金的具体环境,钣金的开孔大小,冲压深度等信息要与钣金工程师及冲压工艺工程师及时沟通确认。外把手的装配方式和装配流程需要与总装工艺工程师一起分析确定方案。总之,外把手的设计是与多个系统相关,在设计时候全面及时的沟通,有利于确定最佳方案提高工作效率。
外把手人机分析
外把手人机分析,首先要考虑外把手的人机性能。针对翻盖式和外拉式两种形式有不同的人机要求。

图 18 翻盖式外把手人机布置图
通过图 18 可以看出,翻盖式外把手需要考虑人手操作的时候的 4 指宽度,一般情况下还要考虑不同人种的差异以及不同地区的使用差异,对于严寒地区操作者可能会带有比较厚的手套,所以手柄的可操作宽度要适当的放宽,理论上有效宽度值在 110mm。同时要考虑手指的操作位置,一般情况下一节至两节手指之间是手指比较容易用力的位置,符合一般的操作习惯,考虑到手指的长度,此操作空间一般预留 20mm 以上。其次要考虑使用者在操作外把手时候的手臂位置,在正常站立情况下,手柄不能太直也不能弯曲太大,一般翻盖式外把手的手柄操作部分离地面的高度约为 740~880mm。再次, 就是要考虑外把手操作的手指舒适性,手指操作位置棱角不能太锋利,需要适当增加圆角处理。
图 18 翻盖式外把手人机布置图

图 19 外拉式外把手人机布置图
外拉式把手与翻盖式把手在考虑人手操作时候基本是一致的,都需要有效宽度达到 110mm 左右, 同时在把手内侧与车身外板之间最好能达到一个 110×25mm 的矩形空间。由于外拉式外把手的操作方向与翻盖式不同,在离地高度方面基本控制在 740~1160mm,同时为了保证外把手柄有一定的操作手感,外把手柄的截面有效宽度一般在 13mm 以上,同时对棱边进行圆角处理,如图 19 所示。
外把手结构设计
外把手结构设计一般都会与外把手供应商同步开发,首先要确认外把手是翻盖式还是外拉式,两种形式结构不同。翻盖式外把手根据其传动结构,容易实现向下的推力,所以外把手与门锁连接的外开机构最好选用连杆结构。由于目前翻盖式的外把手市场应用比较少,这里不做重点介绍,重点介绍外拉式外把手的设计,以零件较多的左侧前门外把手为例。

图 20 外把手典型断面
外拉式外把手通过前面的介绍已经知道,一般分为手柄、罩盖、底座、密封垫等零件。其中手柄和罩盖是外观件,需要与造型工程师紧密确认,同时手柄又是运动件,需要确认与外板的配合空间。在正常情况下,在外把手造型之前工程师会提供一个典型断面来约束外把手的基本尺寸,如图 20 所示。
外把手的断面首先要满足人机要求,如果是嵌入芯片的外把手还要考虑手柄的尺寸是否可以足够容纳芯片,同时要考虑外把手自身的结构与板金配合面所需要的尺寸,这样造型出来的造型面就不会与实际设计有太大的偏差。接收到造型工程师提供的外把手造型面后,结合典型断面继续校核,需要修改的地方与造型工程师及时沟通修改,同时要与工艺工程师确认与外把手配合的车门外板的配合面的冲压工艺性,所有问题尽量在造型最终确定之前修改完成,如果造型评审确定后再去更改造型可能涉及到侧围及整个外观面的调整,工作量会非常大。
外观与人机满足要求后,开始外把手自身的机构设计,此时要根据外把手造型与自身结构输入给配合门外板上的板金开孔,开孔太大会影响整车密封,开孔太小会导致外把手装配问题,所以输入给外板的开孔信息一定要与外把手自身结构相关联确认。
外把手轮廓尺寸确定后进行具体的结构设计,一般外把手供应商都会有自己的成熟的外把手机构,不同车型的外把手基本都是在成熟的机构上去做局部的调整。首先,结合周边环境和门锁类型确定门锁的外开连接方式,是连杆连接还是拉索连接。对于连杆连接,一般外把手在 Z 平面的运动通过机构要转化成对门锁沿-Z 方向运动,也就是通过连杆产生向下的推力打开门锁;对于拉索连接,一般外把手在 Z 平面的运动通过机构要转化成对门锁沿 Z 方向运动,也就是通过拉索产生向上的拉力打开门锁。两种方式的运动方向不同,结构也不同,如图 21、图 22 所示箭头标示外把手和连杆的运动方向。


图 21 拉索式连接 图 22 连杆式连接
外把手基本结构确定后,就可以进行细节设计,首先可以将外把手传动机构简化成一组力学模型,如图 23 所示。

图 23 外把手结构简化图
通过计算可以得出,

当 成立的时候,则可以通过外把手打开车门。其中:F 为外把手的操作力,N 为门锁的解锁力、T 为扭簧扭矩,α为两个力臂的相对夹角,在结构一定的情况下为定值,β为外把手力臂夹角。
在外把手的实际使用过程中一般要求操作力比较小,在一定的范围内,如果要得到较小的外把手操作力可以通过以下几个途径:
1、减小门锁的解锁力 N;
2、减小扭簧的扭力矩 T;
3、减小门锁的作用力臂 L2;
4、增大外把手作用力臂 L1;
5、优化门锁与外把手之间的传动机构。
根据前面的输入,门锁的解锁力与门锁的选型相关,门锁型号确定后解锁力基本不能调节,门锁与外把手的传动机构也已经确定(拉索或连杆),所以在外把手设计的时候要特别关注自身结构的扭簧力 T 和力臂L1、L2。但是外把手自身的参数也不是随意调整的,外把手为了保证门锁在碰撞过程中 30G 加速度不打开车门,外把手一般设计加速度要>nG。不同主机厂要求加速度为(n=30、35、45、60 或
>60 的参数值)。建立如图外把手加速度力学模型,手柄重心到转轴的力臂为 L3、手柄与配重块作用点到手柄转轴力臂为 L4、手柄与配重块作用点到配重块转轴的力臂为 L1、配重块重心到配重块转轴水平力臂为 L5-2、配重块重心到配重块转轴垂直力臂为 L5-1、外把手柄质量为 m1、配重块质量为 m2、外把手柄对配重块产生的加速度力矩为 M1、配重块自身产生的加速度力矩为 M2-1 和 M2-2、扭簧扭矩为 T,如图 24 所示。

图 24 结构力臂示意图碰撞加速度为水平方向 nG 的情况下:
外把手柄对配重块产生的力矩为

配重块本身产生的水平力矩

如果要保证在碰撞的情况下外把手能保持稳定状态需要满足(外把手柄开启趋势):

如果要保证在碰撞的情况下外把手能保持稳定状态需要满足(配重块开启趋势,此情况是加速度为上述的反方向):

在垂直碰撞加速度为 nG 的情况下,外把手柄由于约束作用不运动,只有配种块产生运动趋势: 配重块垂直方向力矩

如果需要保证在碰撞情况下外把手保持稳定状态需要满足:

通过上述简化模型计算可以得出:外把手的结构设计要综合考虑外把手的开门操作力和碰撞加速度,相关参数相互关联,一般情况下外造型确定后,外把手柄的质量 m1 基本是确定的,其他参数要根据结构综合考虑。
通过上述分析,外把手的大体结构基本确定,至少能保证外把手的功能不会失效。
细节设计注意的问题点 1、根据选定的门锁的开启行程,确定外把手的空行程、有效操作行程和最大行程,为了对门锁外开机构进行保护,一般外把手的最大行程要小于门锁的最大行程,即极限位置的限位一般在外把手上。
2、外把手底座设计时候需要考虑底座与门板的装配形式,目前比较常见的有螺钉固定和卡扣固定两种形式,无论那种装配形式,在底座装配的时候都需要有 X 向和 Z 向预定位以保证安装准确。3、校核外把手底座与周边零件的安全距离,特别是配重块的最大运动包络与玻璃面、导轨面、玻璃升降器托架的运动包络等零件的间隙,一般的设计原则是静止零件间隙大于 6mm,运动零件与静止零件间隙大于10mm,运动零件与运动零件间隙大于12mm。
如果外把手柄是嵌入芯片的分体结构,注意上下部分的分型面以免影响外观,同时由于上下分体部分可能有水进入,所以注意设计排水孔。外把手罩盖与锁芯的配合结构要综合考虑罩盖本身的公差范围和锁芯零件的公差范围,以保证配合紧凑没有晃动量。同时注意锁芯孔与锁芯的配合方式,要求在满足实际操作的基础上,外观平整美观, 目前的设计一般都是用外把手罩盖孔壁压在锁芯表面,配合紧凑美观。
6、外把手柄与罩盖之间的间隙设计,由于外把手柄是运动件,在配合过成中要注意间隙和段差的设计, 一般情况下手柄与罩盖的间隙为 0.5~1mm,具体的公差范围根据外把手供应商及整车厂的工艺能力确定在合理范围内。
7、为了保证外把手柄的操作舒适性和外观性,在结构设计时候要注意防止外把手柄在 X 向的窜动,如果窜动量超过 0.5mm 就会影响到整车的外观间隙。不同的外把手供应商在消除手柄 X 向窜动量方面都会有自己的经验积累,可以通过结构约束或调整配合公差来实现。 8、密封垫的设计:罩盖端的密封垫基本都是同样的形式,装配到门板金上起缓冲和密封的作用。在手柄端的密封垫目前有两种结构,一种是装配在手柄上可以随手柄一起运动,一种是装配在板金上静止不动。密封垫装配在外把手柄上可以随外把手一起供货,整车装配简单,但是在外把手打开运动时候密封垫随手柄运动而脱离板金,如果底座通过螺钉安装,可能会看见安装螺钉影响外观。密封垫装配在板金上,可以很好的遮蔽底座安装点,但是整车装配时候需要单独装配。目前一般的设计都是将密封垫固定在板金上以达到很好的外观效果。
连接结构设计连杆设计
连杆机构属于刚性传递,传递效率较高,在设计过程中要尽量保持传递路径平缓,如果连杆传递途径有太多的折弯或转接,一方面零件尺寸公差会比较大影响操作的舒适性,另一方面会降低传递效率。
拉索设计
拉索机构属于柔性传递,传递过程会有摩擦损失而导致效率较低,但是由于拉索的柔性好,拉索对周边的环境要求比连杆低,同时在碰撞变形后失效的几率比连杆要小,安全性能更好。由于拉索的柔性摩擦损失,在拉索布置时候一般都会有最小的曲率半径要求,一般在理论上要求半径大于 150mm。
锁芯设计与布置
锁芯内部机构一般都是供应商的成熟机构与钥匙花形相匹配。锁芯的轮廓设计要注意几点:
锁芯的运动包络要与周边环境有充足的安全间隙锁芯的压铸基体与外把手罩盖的配合尺寸公差与罩盖匹配设定锁芯连动臂在钥匙的驱动下,要有足够的行程开启门锁,即锁芯行程要大于门锁行程。锁芯连动臂与门锁连杆的装配连接,要有足够的装配空间,满足装配的人机性。车门锁芯布置相关人机项目:
(1)车门锁芯布置主要考虑锁芯转动过程中手指及手掌不要与车门零件干涉导致不顺畅,具体要求
见图 25 所示:
(2)锁芯操作作用力矩建议值为 0.25N.m,最大不要超过 0.5N.m;
(3)钥匙的插入力建议值为 4.0N,最大不要超过 13N;
(4)锁芯表面应让顾客方便的看到,锁芯表面比周圈零件(如外把手)低的尺寸量不大于 5.0mm。锁芯表面应进行光亮处理保证在光线不足的情况下容易被找到;
(5)建议锁芯表面有凹形或漏斗形特征到导引钥匙进入钥匙槽;

图 25 锁芯操作人机分析图
(6)手指和手掌接近区域应避免所有锋利的边缘;
车门锁系统评审及验证
车门锁数据发布前,应组织评审,确保产品和整个系统的性能和可靠性。
设计评审车门锁系统布置是否合理车门锁系统操作是否符合人机要求车门锁系统装配可行性车门锁系统运动空间设计验证内容及方法
门锁系统零部件的试验内容及试验方法,略
典型设计案例
下面是 AD 车型门锁系统的设计案例。
门锁选型与布置门锁选型
在项目启动后,对项目应该有一个整体的配置要求。根据接收到的项目配置信息选择门锁。项目配置要求如下表 3:
表 3 门锁配置要求
通过配置要求可以得到如下信息:只需要驾驶员侧增加钥匙开启的锁芯总成、内开和锁止机构分开(不能选择双拉开启)、后门锁需要儿童锁功能(机械、电子没有约束)、冲击感应门锁开启(需要电器 BCM 提供信号)、四门单独的锁止旋钮、驾驶员侧前门锁有防误锁功能。该要求对于比较成熟的门锁而言都能满足要求,可以根据门锁功能及门锁成熟度结合门锁的采购成本来确定门锁供应商及门锁型号。
门锁选型确定后,就需要将门锁的包络数据或典型界面提供给钣金工程师,以便钣金工程师在设计内、外板的时候保证门锁的足够空间,如图 26 所示。

图 26 门锁布置典型断面图
门锁布置
前门锁:如图 27 所示。

图 27 前门锁布置图
1、前门锁啮合角为 0°
2、前门锁β角 89.3°
3、前门锁安装点与铰链轴线跨度 942mm
4、上下铰链距离 430mm
根据前面介绍的门锁设计要求,该布置满足基本的布置要求,如图 28、图 29、图 30 所示。

图 28 门锁空间校核

图 29 门锁空间校核

图 30 门锁空间校核
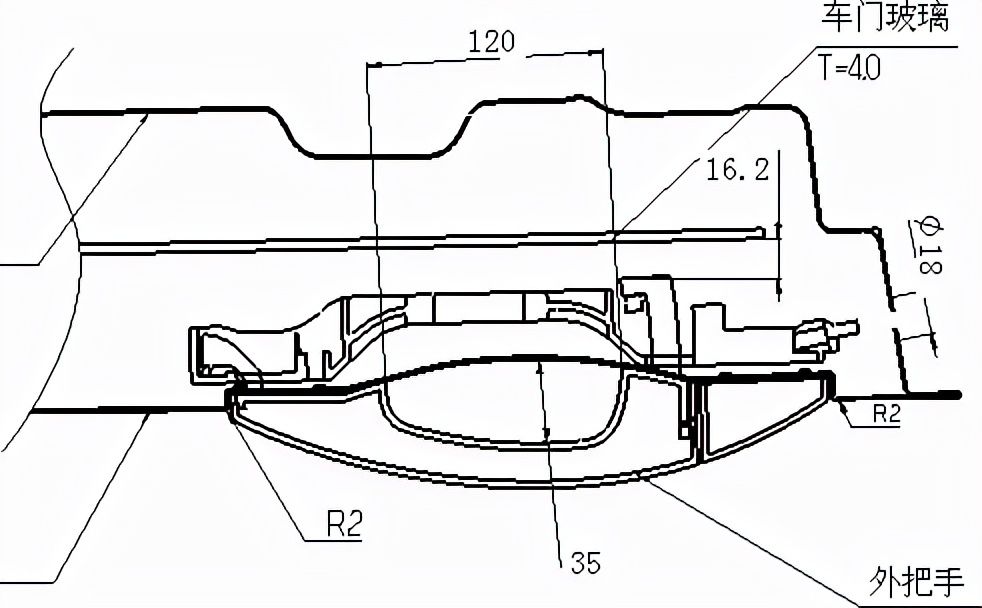
门锁与周边环境最小间隙如图所示,除了锁体安装面以外门锁包络与门锁加强板的间隙>3.5mm, 门锁与玻璃间隙为 11.8mm,满足设计要求。
后门锁:如图 31 所示。

图 31 后门锁布置图
1、后门锁锁扣延长线与啮合点到铰链轴线的距离为 0.8mm,延长线与啮合点与铰链轴线的夹角基本为 0°。
2、啮合面与铰链轴线夹角 77°
3、后门锁啮合点与铰链轴线跨度 882mm
4、上下铰链距离 415mm
后门锁的布置一般受车轮的限制,啮合面与铰链轴线的夹角比较小,啮合线与轴线的交点一般也会高出上铰链。

如图 32

如图 33

如图 34
后门锁与周边环境的校核:如图 32、图 33、图 34 所示。
图 32 门锁空间校核 图 33 门锁空间校核 图 34 门锁空间校核
后门锁与门锁加强板,玻璃导轨等间隙满足设计要求,后门儿童锁的操作空间满足设计要求。
门锁装配的人机性

如图 35

如图 36
图 35 前门锁装配空间校核 图 36 后门锁装配空间校核通过 DMU 校核,门锁满足装配空间的人机要求,如图 35、图 36 所示。
锁扣的安装设计

图 37 锁扣安装设计
锁扣的安装一般要求具有一定调整量,该车型采用的结构如 37 图所示:
外把手的设计外把手造型确认及机构理论计算
接到外把手的造型数据后,结合前期提供的典型断面来检查造型是否满足要求。如果造型面不能满足实际的结构布置需要,对造型提出问题并明确需要修改的位置的调节量,这样有助于提高工作效率,减少交互的次数,如图 38 所示。

图 38 外把手造型信息反馈
经过与造型的反馈交互调整,最终的造型效果如图 39 所示:

图 39 外把手造型 A 面
造型确定后,可以基于造型面进行结构设计,该工作主要有外把手的供应商进行,整车厂主要是对供应商设计的数据进行校核工作。该车型外把手的碰撞加速度按 45G 设计。根据供应商提供的数据进行校核:
外把手结构数据如下:如图 40 所示。

图 40 外把手结构数据
按前面介绍的计算校核方法计算结果如表 4 所示:
表 4 加速度计算校核

通过上述计算可以得出,结构数据满足碰撞设计要求。
外把手的布置校核

图 41 配重块与玻璃间隙

图 42 外把手底座与升降器包络

图 43 外把手开启极限位置
外把手的运动包络与玻璃面、玻璃升降器托架、玻璃导轨、外把手柄与车门板金间隙满足设计要求,如图 41、图 42、图 43 所示。
锁芯设计锁芯与外把手匹配
锁芯与罩盖的配合一般都是卡接固定,所以锁芯与罩盖的匹配公差要综合考虑,在实际工作中一般都是在设计阶段定出理论的公差范围,通过实际零件再进行调整匹配,如图 44 所示。

图 44 锁芯与罩盖匹配图示
锁芯与外把手底座一般采用螺钉连接固定,为了提供工具利用率,尽量选用与门锁等相关零件安装螺栓相同的螺栓头,如图 45 所示。

图 45 锁芯与底座安装图
锁芯与门锁配合
锁芯的连动臂的运动行程一定要大于门锁的开启和闭锁行程,如图 46 所示。

图 46 锁芯开启、闭锁行程
锁芯包络与周边环境的校核和装配操作空间
锁芯的装配空间要满足人手的操作,同时锁芯的运动空间与周边零件有足够的安全间隙,如图 47
所示。

图 47 锁芯连杆空间布置图
连接机构设计

图 48

图 49
该车型受门锁型号及车门内部布置空间的限制,连接机构选择拉索连接。拉索连接需要注意拉索布置时候的最小曲率半径要求,曲率越小拉索的工作效率越低,操作舒适性越差。该车型的前、后门拉索布置如图 48、图 49 所示:
图 48 前门锁连接图 图 49 后门锁连接图
从图 48、图 49 可以看出,该车型前后门拉索的布置走向不同,前门是直接连接,后门是环绕连接。从拉索布置来考虑,环绕连接拉索的余量可以适当放大,这样在碰撞过程中拉索能吸收更大的变形,拉索不容易失效。但是同时拉索环绕设计,需要有足够多的约束点来约束拉索的走向和自由摆动, 以防止拉索曲率的自由变化和行车过程、开关门过程的振动异响。该车型前门由于高配外把手带有感应天下的线束,影响拉索的环绕布置,同时环绕布置没有充足的约束点来保证拉索与玻璃面的合理间隙。所以采用直接连接的方式。
原创文章,作者:UWSOGL,如若转载,请注明出处:https://www.beidanyezhu.com/a/100678.html
微信扫一扫